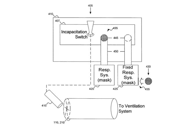
Le diffuseur de gaz incapacitant
Autre idée déposée en 2002, après les attentats du 11 Septembre : ce système visant à lutter contre les pirates de l'air. Il permettrait de diffuser via le système d'aération de l'avion "un gaz incapacitant empêchant les terroristes d'atteindre leurs objectifs." Une fois l'ensemble des passagers et des terroristes totalement neutralisés (on imagine que les pilotes seraient protégés...) la situation devrait effectivement être plus claire...
© Ariel S. Rogson
